Apple ซุ่มพัฒนา iPhone แบบม้วนจอได้ และดึงหน้าจอจากด้านข้าง หลังพบจดสิทธิบัตรใหม่
เรียกได้ว่าในช่วงปีที่ผ่านมา กระแสของสมาร์ทโฟนที่มีความสามารถในการพับหน้าจอได้ (Foldable Smartphone) เป็นที่จับตามอง โดยแบรนด์ใหญ่ต่างก็ส่งรุ่นเด่นออกมาประชันกันอย่างดุเดือด ทั้งทาง Samsung ในรุ่นล่าสุดอย่าง Samsung Galaxy Z Flip บนดีไซน์แบบตลับแป้ง พกพาสะดวก, Huawei กับรุ่น Mate Xs และ Motorola ที่นำซีรีส์ระดับตำนานกลับมาปัดฝุ่นใหม่อย่าง Motorola Razr รวมไปถึงค่าย OPPO, Xiaomi และ LG ที่มีการเผยตัวเครื่องต้นแบบออกมาให้ได้ชมกัน
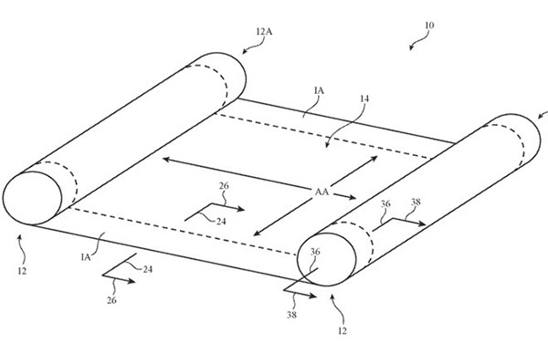
ล่าสุดก็มีข่าวที่น่าสนใจจากทาง Apple บ้างแล้ว ซึ่งในครั้งนี้ไม่ได้เป็นเพียงแค่หน้าจอที่สามารถพับได้เท่านั้น แต่คือ iPhone ที่สามารถม้วนหน้าจอได้เลยต่างหาก (Rollable) จากการจดสิทธิบัตรใหม่ล่าสุดกับทาง U.S. Patent and Trademark Office (USPTO) ที่เผยให้เห็นเทคโนโลยีการม้วนหน้าจอได้คล้ายกับม้วนกระดาษ ซึ่งถือเป็นสมาร์ทโฟนที่มีรูปร่างแปลกตาอยู่ไม่น้อย และยังมีความเป็นไปได้ที่จะมีการนำมาใช้บน iPad เพื่อให้สามารถขยายหน้าจอให้กว้างขึ้น จากการดึงหน้าจอออกมาทางด้านข้างด้วยเช่นกัน

อย่างไรก็ดี ยังมีเทคโนโลยีรูปแบบต่างๆ กว่าอีก 150 สิทธิบัตรเกี่ยวกับหน้าจอที่ทาง Apple ได้จดทะเบียนไว้ก่อนหน้านี้ ซึ่งก็ต้องมาติดตามกันต่อไปค่ะว่า iPhone ในอนาคตอันใกล้นี้จะมีการปรับเปลี่ยนรูปร่างไปอย่างไร และมีเทคโนโลยีใดที่น่าสนใจบ้าง
ที่มา : Apple Insider
วันที่ : 25/3/2563





