Samsung จดสิทธิบัตรระบบชาร์จไร้สายทางอากาศ คล้ายสัญญาณ WiFi อยู่ตรงไหนก็ชาร์จได้ ไม่ต้องวางติดกับแท่นชาร์จอีกต่อไป
นอกจากสมาร์ทโฟนรุ่นใหม่ๆ แล้วสิ่งที่น่าสนใจไม่แพ้กันก็คือสิทธิบัตรต่างๆ ของผู้ผลิตแต่ละแบรนด์ ที่ทำให้เราได้เห็นไอเดียนวัตกรรมใหม่ๆ ที่ยังไม่เคยแจ้งเกิดมาก่อน และในคราวนี้ก็มีการค้นพบสิทธิบัตรที่น่าสนใจอีกแล้วซึ่งก็คือ "เทคโนโลยีชาร์จไร้สายทางอากาศ (Wireless Charging OTA)" ของ Samsung ครับ



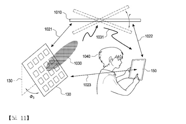
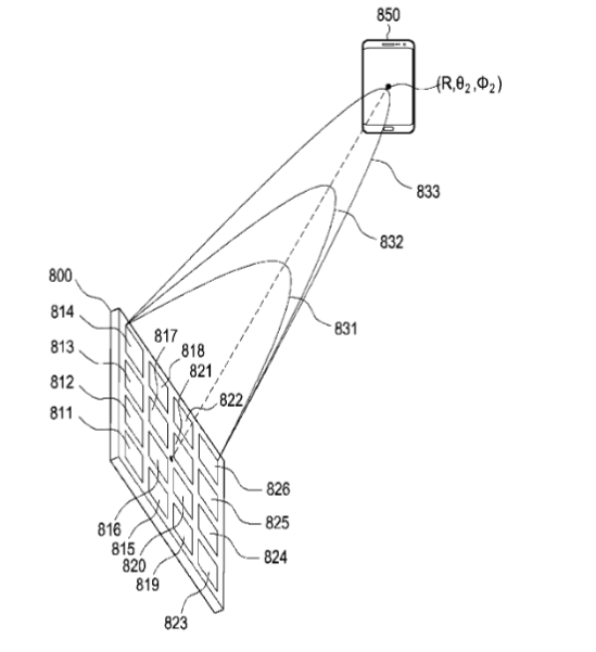
สิทธิบัตรฉบับนี้ยื่นจดทะเบียนมาตั้งแต่ปี 2016 และได้รับการเผยแพร่โดยองค์กรทรัพย์สินทางปัญญาโลก (WIPO) โดยมีเจ้าของคือ Samsung เป็นนวัตกรรมการชาร์จอุปกรณ์แบบไร้สายทางอากาศ (Wireless Charging OTA) คล้ายสัญญาณ WiFi โดยที่ตัวฐานชาร์จจะปล่อยสัญญาณออกมารอบบริเวณ อุปกรณ์ใดๆ ที่อยู่ในระยะจะได้รับการชาร์จแบตเตอรีทันที ระบบนี้จะทำให้อุปกรณ์ชาร์จแบตเตอรีได้ โดยไม่ต้องวางไว้กับแท่นชาร์จเหมือนระบบชาร์จไร้สายในปัจจุบัน จึงสามารถชาร์จได้แม้จะเก็บอยู่ตัวอุปกรณ์อยู่ในกระเป๋ากางเกง หรือกำลังใช้งานอยู่ที่มุมใดมุมหนึ่งของห้อง
นอกจากนี้ในสิทธิบัตรยังได้อธิบายถึงวิธีการโฟกัสพลังงานไปยังอุปกรณ์ใดๆ ในห้องโดยตรง โดยจะมีตัวสะท้อนสัญญาณ (Reflector) คอยปรับทิศทางของสัญญาณให้ตรงกับตำแหน่งของอุปกรณ์พร้อมกับหักเหหลบสิ่งกีดขวางไปพร้อมกันจึงสามารถชาร์จได้แม้ว่จะกำลังเดินอยู่ในห้อง หรืออยู่ในมุมที่ค่อนข้างอับ
แม้ว่าระบบชาร์จไร้สายทางอากาศดังกล่าวจะยื่นจดทะเบียนมาตั้งแต่ปี 2016 แต่คาดว่าเทคโนโลยีนี้จะพร้อมใช้งานในอีก 3 - 5 ปีข้างหน้า ซึ่งก็ขึ้นอยู่กับทาง Samsung ด้วยว่าจะจริงจังกับเทคโนโลยีนี้แค่ไหนครับ
ที่มา : PhoneArena
วันที่ : 26/3/2561





