มือถือ Samsung รุ่นใหม่อาจมาพร้อมกล้องหลังจัดเต็ม 6 ตัว พร้อมเลนส์มุมกว้างพิเศษ หลังพบจดสิทธิบัตรเป็นที่เรียบร้อย
ปัจจุบัน สมาร์ทโฟนมีกล้องหลังมากถึง 5 ตัวแล้ว ซึ่งเราจะเห็นได้จาก Nokia 9 PureView รวมถึง Xiaomi Mi Note 10 ที่ต่างให้กล้องหลังมาจัดเต็ม 5 ตัว เพื่อช่วยถ่ายภาพในสถานการณ์ต่างๆ ได้ดียิ่งขึ้น แต่ล่าสุดดูเหมือนว่า วงการกล้องสมาร์ทโฟนกำลังจะก้าวไปอีกขั้นด้วยเซ็ตอัพกล้องหลังแบบ 6 ตัวครับ

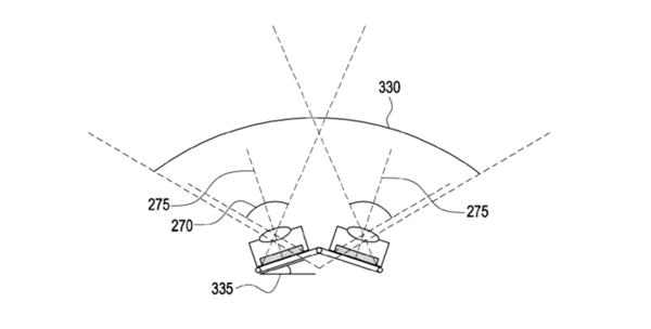
เมื่อไม่นานมานี้ มีการค้นพบสิทธิบัตรฉบับใหม่ที่ Samsung ขอยื่นจดไว้กับองค์การทรัพย์สินทางปัญญาโลก (WIPO) เมื่อปี 2019 ที่ผ่านมา สิทธิบัตรฉบับนี้มีความยาว 55 หน้า อธิบายถึงเซ็ตอัพกล้องของสมาร์ทโฟนรุ่นใหม่ที่มาพร้อมกับกล้องเลนส์มุมกว้าง (Wide-Angle) ทั้งหมด 5 ตัว ผสานกับกล้อง Telephoto จำนวน 1 ตัว โดยกล้องเลนส์ Wide แต่ละตัวก็จะมีองศาในการรับภาพที่กว้างไม่เท่ากัน ซึ่งถือว่าเป็นเซ็ตอัพกล้องที่ค่อนข้างแปลกตาจากสมาร์ทโฟนปัจจุบันที่มักจะให้กล้องแต่ละระยะมาแค่ตัวเดียวเท่านั้น
สื่อต่างประเทศคาดการณ์ว่า เซ็ตอัพกล้อง 6 ตัวของ Samsung นี้ จะใช้ในการถ่ายภาพหลายๆ ใบพจากกล้องทั้งหมด 6 ตัวพร้อมกันในครั้งเดียว และค่อยนำมาประมวลผลภาพถ่ายออกเป็นภาพเดียวเหมือนกับระบบกล้องของ Nokia 9 PureView ที่ใช้เซ็ตอัพกล้องหลังเซ็นเซอร์สี และขาวดำรวมกันทั้งหมด 5 ตัว อีกหนึ่งความเป็นไปได้ก็คือ เซ็ตอัพกล้องทั้ง 6 ตัวนี้จะทำงานร่วมกันเพื่อช่วยขยายระยะโฟกัสให้กว้างขึ้น รวมถึงช่วยเก็บ Dynamic Range ที่ดีขึ้นไปด้วย
อย่างไรก็ดี สิทธิบัตรใช่ว่าจะมีการนำมาพัฒนาเป็นผลิตภัณฑ์จริงเสมอไป แต่หาก Samsung สามารถพัฒนาเซ็ตอัพกล้อง 6 ตัวสำเร็จ ก็อาจจะเป็นอีกหนึ่งก้าวสำคัญที่ช่วยยกระดับวงการกล้องถ่ายภาพบนสมาร์ทโฟนก็เป็นได้ครับ
ที่มา : Android Police
วันที่ : 19/6/2563





