เผยสิทธิบัตรฉบับล่าสุดจาก Samsung ระบุวิธีการยืนยันตัวตนแบบใหม่ ด้วยรูปแบบการไหลเวียนของเลือด ทั้งบนสมาร์ทโฟนและสมาร์ทวอช (Smartwatch)
ปัจจุบัน ระบบการยืนยันตัวตนบน มือถือซัมซุง มีให้เลือกกันถึง 6 แบบด้วยกัน ไม่ว่าจะเป็น Pattern, PIN, Password, การสแกนลายนิ้วมือ, การสแกนม่านตา และระบบจดจำใบหน้า แต่ในอนาคตมีความเป็นไปได้ที่ อุปกรณ์จาก Samsung จะมีระบบการยืนยันตัวตนเพิ่มขึ้นอีก เมื่อมีการเผยสิทธิบัตร Samsung ฉบับล่าสุด ที่กล่าวถึงการยืนยันตัวตนด้วยการวัดจากรูปแบบการไหลเวียนของโลหิต



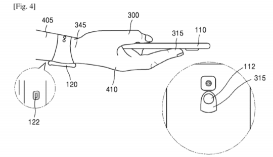
โดยสิทธิบัตรฉบับดังกล่าว มีหัวข้อว่า Real Time Authentication Based on Blood Flow Parameters ซึ่งถูกยื่นจดตั้งแต่เดือนกรกฎาคม ปี 2016 ในสหรัฐฯ ที่กล่าวถึงวิธีการยืนยันตัวตนผู้ใช้ด้วยรูปแบบการไหลเวียนของโลหิต โดยระบุว่า ปกติแล้วการไหลเวียนของโลหิตจากเส้นเลือดแดงของมนุษย์แต่ละคนจะมีความแตกต่างกัน ซึ่งเป็นอีกหนึ่งวิธีที่จะสามารถยืนยันตัวตนผู้ใช้ได้ทั้งจากนิ้วมือ หรือข้อมือผ่านทางเซ็นเซอร์ที่ถูกติดตั้งบนสมาร์ทโฟนและสมาร์ทวอช อีกทั้งยังใช้งานได้ง่าย เพียงแค่สวมนาฬิกา และแตะนิ้วลงบนเซ็นเซอร์เท่านั้น
อย่างไรก็ดี ยังไม่มีข้อมูลยืนยันว่า สิทธิบัตรดังกล่าวจะถูกนำไปใช้จริงเมื่อใด
ที่มา : sammobile.com
…………….
TMC News
วันที่ : 29/1/2561





