เผยสิทธิบัตรใหม่ Motorola มือถือฝาพับดีไซน์ใหม่ หันจอออกด้านนอก แหวกแนวไม่ซ้ำใคร
Motorola เป็นแบรนด์แรก ๆ ที่บุกเบิกตลาดสมาร์ทโฟนพับได้ด้วยการเปิดตัว Moto Razr และ Razr 5G ในปี 2020 แต่หลังจากนั้นเป็นต้นมาเราก็ไม่ได้เห็นรุ่นใหม่ๆ ออกมาอีกเลย กระทั่งล่าสุดได้มีการค้นพบสิทธิบัตรฉบับใหม่ของ Motorola ที่บอกใบ้ว่าค่ายมือถือรุ่นเก๋านี้กำลังซุ่มพัฒนาสมาร์ทโฟนพับได้รุ่นใหม่อยู่ครับ

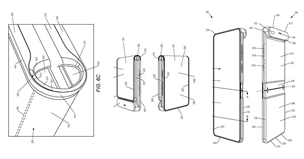
สิทธิบัตรดังกล่าวเพิ่งจะได้รับการอนุมัติโดยองค์การทรัพย์สินทางปัญญาโลก (WIPO) โดยมีรายละเอียดเป็นดีไซน์สมาร์ทโฟนพับได้ทรงตลับแป้ง แต่มีหน้าจออยู่ด้านนอกแทนที่จะอยู่ด้านใน เมื่อพับเข้าหากันจะได้ทรงตลับแป้งที่มีหน้าจอเต็มพื้นที่ทั้งด้านหน้าและด้านหลัง ที่ด้านหนึ่งของตัวเครื่องมีโมดูลยื่นออกมา ซึ่งคาดว่าเป็นตำแหน่งของกล้องและเซ็นเซอร์ต่างๆ คล้ายกับ Moto Razr ส่วนกลไกบานพับของสมาร์ทโฟนรุ่นใหม่นี้ คาดว่าจะเป็นกลไกแบบใหม่ที่ไม่เคยมีมาก่อนในวงการ ซึ่งน่าจะช่วยให้ตัวเครื่องพับเข้าหากันได้สนิท และไม่ทิ้งรอยย่นเอาไว้บนหน้าจอ
ทั้งนี้ ยังไม่สามารถยืนยันได้ว่า Motorola จะเปิดตัวมือถือพับได้รุ่นใหม่ในดีไซน์นี้จริงหรือไม่ เพราะหลายครั้งดีไซน์ในสิทธิบัตรก็ไม่ถูกนำมาใช้ แต่สุดท้ายแล้วหากมีการนำมาใช้จริง ๆ ก็คงสร้างความแปลกใหม่ให้วงการพอสมควร
ที่มา : mysmartprice
วันที่ : 8/2/2565





