Apple ซุ่มพัฒนาไฟฉายติด Apple Watch มีแบตในตัว สั่งเปิด-ปิดจากนาฬิกาได้
จากสิทธิบัตรล่าสุด ดูเหมือนว่า Apple กำลังพัฒนา “โมดูลไฟฉายสำหรับอุปกรณ์สวมใส่” (Modular Light Assembly For A Wearable Device) ที่สามารถติดเพิ่มลงไปบนสายรัดและตัวเรือนของ Apple Watch ได้ครับ


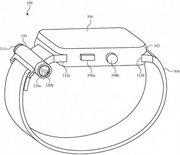
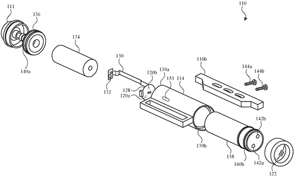
ภาพร่างในสิทธิบัตรทำให้เราได้เห็นหน้าตาคร่าว ๆ ของไฟฉาย Apple Watch ซึ่งมีลักษณะเป็นแท่งเล็ก ๆ สามารถติดตั้งกับสายรัดข้อมือของนาฬิกาได้ เมื่อดูจากการติดตั้งแล้ว ผู้ใช้สามารถส่องไฟไปยังทิศทางที่ต้องการได้โดยไม่ต้องหันหน้าปัดนาฬิกา และยังสามารถใช้งาน Apple Watch หรือใช้มือทำงานอื่น ๆ ไปด้วยได้ ขณะเดียวกัน ตัวไฟฉายยังมีแบตเตอรีในตัว จึงไม่จำเป็นต้องอาศัยแบตเตอรี่จากนาฬิกา และน่าจะสว่างกว่าไฟจากหน้าปัด Apple Watch มาก

ตามสิทธิบัตรระบุว่าผู้ใช้สามารถสั่งเปิด-ปิดไฟฉายจาก Apple Watch ได้โดยตรง จึงเป็นไปได้ว่าไฟฉายอาจเชื่อมต่อกับ Apple Watch ด้วย Bluetooth และไฟฉายอาจมีคุณสมบัติกันน้ำ โดยอาจใช้โอริงหรือเทคนิคการซีลรอยต่อแบบอื่น ๆ
ถึงแม้ว่าภาพร่างในสิทธิบัตรจะแสดงให้เห็นตัวไฟฉายที่แยกจากตัว Apple Watch แต่ก็มีการระบุเอาไว้ว่าตัวไฟฉายอาจจะติดมากับสายนาฬิกาอย่างถาวร หรือพูดง่าย ๆ ก็คือ Apple จะขายสายรัด Apple Watch ที่มีไฟฉายในตัวด้วย
หากมองในแง่ผู้บริโภค ไฟฉายติด Apple Watch ก็เป็นไอเดียที่ดีทีเดียว เพราะถึงแม้ Apple Watch จะมีฟังก์ชั่นไฟฉายให้ใช้งานอยู่แล้ว แต่ก็เป็นเพียงแสงจากหน้าจอที่ไม่ค่อยสว่างเท่าไหร่ และยังใช้มือทำอย่างอื่นไปด้วยได้ ดูแล้วน่าจะเหมาะกับคนที่ชอบทำกิจกรรม outdoor ตอนกลางคืน เช่นสายแคมป์ หรือสายเดินป่า
อย่างไรก็ตาม สิ่งประดิษฐ์ที่อยู่ในสิทธิบัตรอาจไม่ได้ทำออกมาขายจริง ๆ จึงต้องรอดูกันต่อไปว่า Apple จะตัดสินใจอย่างไรครับ
ที่มา : GSM Arena
วันที่ : 8/12/2566





